Audi invents EV battery with fire extinguisher built in
There is no question that electric car battery fires are dangerous. They are nowhere near as common as gasoline-powered car fires but nonetheless they do happen. In fact an electric car has 10 times less chance of self-combusting compared to an ICE vehicle. But when the fire does happen - it can be very difficult to put out.
Our colleagues at Carbuzz discovered two patents filed with the US Patent Office by Audi that address the issue of battery fires. The solution offered by Audi seems to be simple and fairly easy to implement.
Proposed control system and self-extinguishing battery pack
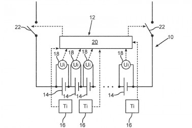
First patent is for a new battery control system. This solution introduces individual battery-cell mounted sensors. Each cell is monitored continuously and if at any point it falls out of nominal range of temperature, it can be switched off and disconnected from the entire battery. That prevents the thermal runaway resulting in the fire and multiple cells can be switched off if required.
The second patent addresses what happens if the thermal runaway takes place and the switching off the cell no longer is possible. If the control system detects that temperature in the individual cell or number of them indicates thermal runaway, the battery pack is flooded with a flame extinguishing powder not allowing the fire to take hold. Another interesting solution is an external feed line for the powder which can be connected to by firefighters which means effective control of fire and potentially a vehicle that can be fixed after.
Simple solutions are always the most difficult to come up with, the obvious ones are known for staring us in the face. Control unit that has access to each individual battery-cell and can monitor and switch on or of each one individually is complicated. It makes a lot of sense though and it will have other benefits, not just the fire prevention.
Switching off individual cells that are found to be less efficient can help them recover - this solution is already being looked at by StoreDot. Individual cell-control can mean various chemistry cells within one battery pack - some to offer quicker charging and some to offer longer range. This is a solution that Our Next Energy is already testing in its EV battery.
Battery progress is relentless, it all happens so quick it sometimes is hard to keep up. While the majority of people still think the EVs can drive about 200 km and are better at barbequing themselves than actually doing the driving, the reality is quite different.
Related
Reader comments
Nothing yet. Be the first to comment.









